找回密码
 快速注册

QQ登录

只需一步,快速开始

搜索
微自动2025 AutoMini(免费无功能限制,营销神器全新重构版)   a.wzdr.cn 长久更新营销神器2024(新版免费无功能限制)在线帮助文档 docs.wzdr.cn
查看: 4137|回复: 14

[公告] 用户“人亦已歌”刷积分处理

[复制链接]
最佳答案
975 

1万

回帖

1605

好评

3万

达人币

用户组:管理员

为人民服务!

本月灌水之星宣传大使兔年幸运勋章七夕纪念勋章本月灌水之星帅哥勋章春节勋章

发表于 2015-7-30 21:42:11 | 显示全部楼层 |阅读模式
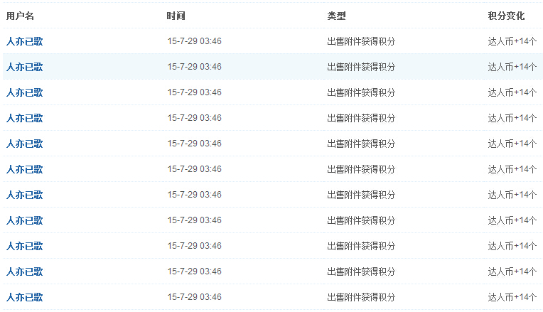
发现此ID有注册很多小号(山东潍坊),签到后刷积分行为

处理:扣除所有积分,+100差评,警告一次,如有关联ID再出现此类情况,会直接永久封停ID。

大家发现转账积分帖,可以查看作者相关帖子,来判断积分来源和举报。


签到刷分很明显,一大堆用户都会举报:
QQ截图20150730213415.jpg

QQ截图20150730213948.jpg


虽然每个账号都是独立IP登录,但我辅助功能DZ强!
QQ截图20150730214106.jpg

评分

参与人数 3好评 +3 达人币 +10 收起 理由
hmm001 + 1 + 5
huguo002 + 1 感谢支持,营销神器有您更精彩!
dkkd88 + 1 + 5 下次见到一定举报 !

查看全部评分

提问技巧:先问是不是这样?...再问为什么会这样?

2024定制规则联系作者QQ...如果遇到问题,可以开 向日葵、ToDesk、TeamViewer 配合QQ语音进行远程调试!

bug问题1-2个工作日内处理!QQ不闲聊,请直入主题!
营销神器,感谢支持和理解!
回复

使用道具 举报

最佳答案
45 

4419

回帖

286

好评

9280

达人币

用户组:版主

梦想还是要有的,万一实现了那。

宣传大使历届版主VIP赞助会员乐于助人兔年幸运勋章七夕纪念勋章规则开发者忠实粉丝出谋划策勋章帅哥勋章羊年幸运勋章勤学向上10周年纪念勋章土豪勋章春节勋章圣诞勋章快乐勋章

发表于 2015-7-30 21:47:15 | 显示全部楼层
这人 好有功夫 和时间啊 。
回复

使用道具 举报

最佳答案
975 

1万

回帖

1605

好评

3万

达人币

用户组:管理员

为人民服务!

本月灌水之星宣传大使兔年幸运勋章七夕纪念勋章本月灌水之星帅哥勋章春节勋章

 楼主| 发表于 2015-7-30 21:50:37 | 显示全部楼层
☆☆小宋☆☆ 发表于 2015-7-30 21:47
这人 好有功夫 和时间啊 。

恩,有时间和技术,可以接点单子嘛。
提问技巧:先问是不是这样?...再问为什么会这样?

2024定制规则联系作者QQ...如果遇到问题,可以开 向日葵、ToDesk、TeamViewer 配合QQ语音进行远程调试!

bug问题1-2个工作日内处理!QQ不闲聊,请直入主题!
营销神器,感谢支持和理解!
回复

使用道具 举报

最佳答案
161 

4874

回帖

326

好评

5406

达人币

用户组:VIP终身会员

历届版主VIP赞助会员乐于助人兔年幸运勋章七夕纪念勋章忠实粉丝羊年幸运勋章春节勋章

发表于 2015-7-30 22:07:32 | 显示全部楼层
举报有奖吗老大

评分

参与人数 1好评 +1 达人币 +5 收起 理由
dkkd88 + 1 + 5 有奖滴,大大的奖励,上次谢谢吖帮我看规则

查看全部评分

我很无聊!!!
回复

使用道具 举报

最佳答案
77 

4685

回帖

74

好评

8325

达人币

用户组:VIP终身会员

VIP赞助会员乐于助人兔年幸运勋章七夕纪念勋章忠实粉丝

发表于 2015-7-30 22:53:27 | 显示全部楼层
绝对应该杀这类风气  上次签到的已经删了一批,居然又卷土重来?
回复

使用道具 举报

最佳答案
0 

824

回帖

26

好评

1055

达人币

用户组:VIP终身会员

宣传大使VIP赞助会员兔年幸运勋章忠实粉丝

发表于 2015-7-30 22:57:46 | 显示全部楼层
{:26:}
回复

使用道具 举报

最佳答案
65 

3542

回帖

717

好评

685

达人币

用户组:VIP终身会员

VIP赞助会员乐于助人兔年幸运勋章忠实粉丝

发表于 2015-7-31 00:06:57 | 显示全部楼层
这娃还是太年轻了
规则订制,多 线 程软件(走量必备),关键词代发,收录排名有保障,咨询Q:250016745
回复

使用道具 举报

最佳答案
0 

244

回帖

8

好评

647

达人币

用户组:中级会员

VIP赞助会员

发表于 2015-7-31 07:53:58 | 显示全部楼层
这样刷好屌
回复

使用道具 举报

最佳答案
0 

1267

回帖

21

好评

267

达人币

用户组:VIP终身会员

兔年幸运勋章七夕纪念勋章忠实粉丝

发表于 2015-7-31 09:26:46 | 显示全部楼层
回复

使用道具 举报

最佳答案
0 

141

回帖

5

好评

108

达人币

用户组:初级会员

发表于 2015-7-31 20:12:50 | 显示全部楼层
好屌的样子,  
回复

使用道具 举报

您需要登录后才可以回帖 登录 | 快速注册

本版积分规则

抢沙发||关于我们|手机版|营销神器 (蜀ICP备14013818号)

GMT+8, 2025-12-5 18:20

Powered by Discuz! X3.5

© 2001-2025 Discuz! Team.

快速回复 返回顶部 返回列表